WhatsApp/Wechat:+86 15922636221

Sie sind hier: Heim » Produkte » Ausrüstung zur Vermeidung von Umweltverschmutzung » 15 ppm Bilgenalarm » 15 ppm Bilgenalarm-Öl-in-Wasser-Monitor

PRODUKTKATEGORIE

loading

Anteil an:
facebook sharing button
twitter sharing button
line sharing button
wechat sharing button
linkedin sharing button
pinterest sharing button
sharethis sharing button

15 ppm Bilgenalarm-Öl-in-Wasser-Monitor

Der 15-ppm-Bilge-Alarm-Öl-in-Wasser-Monitor dient zur Erkennung und Messung des Ölgehalts im Wasser. OCM nutzt eine Reihe von Messtechnologien für unterschiedliche Anwendungen. Beispielsweise zur kontinuierlichen Erkennung von Öl und Abwasser in der Bilge von Schiffen und zur Überwachung ölhaltiger Abwässer in den Bereichen chemische Industrie, Erdöl und Umweltschutz.
Menge:
15-ppm-Bilgenalarm-Öl-in-Wasser-Monitor Der
15  -  ppm-Bilgenwasseralarm kann das Messergebnis anzeigen  ,  einen  15  -ppm-  
Warnwert  einstellen  ,  ein  analoges  Signal  der  Gesamtmenge  der  Abwasser-  Standardentladungssteuerung  zum  Messwert  ausgeben  und  diese  Dienste  bereitstellen,  einschließlich  Datendruck  ,  Speicherung  und  Abfrage  historischer  Daten
usw.  Darüber hinaus  kann  das 15-  ppm  -  Bilgenwasseralarmgerät  Datum,  Uhrzeit,  Alarmzustand  und  Betriebszustand  aufzeichnen  .
15 ppm Bilgenalarm (5) 15 ppm Bilgenalarm (15) 99 ppm Bilgenalarm 1

Leistungsparameter  Messbereich      
:  30 ppm (Wenn        die  gemessene  Probenwasserkonzentration  über  40 ppm  liegt  ,  beginnt  das  digitale  Rohr  80  ppm anzuzeigen  )  .
Messgenauigkeit  :                ±5 ppm
Alarmanzeige  :                          zwei  emittierende  LED
Konzentrationswertanzeige  :  3-Bit-        LED  Alarmpunkt
:  15 ppm                                  Kontaktbelastung  
des  Alarmrelais  :  5  A/220 V  Analoges   Ausgangssignal
:  4–20 mA  oder                    0–10 V  DC  Speiseflüssigkeitsdruck  :      
0,01–0,5 MPa  Gewicht  :                      ca.
13,5                                      kg  Stromversorgung
:  AC220 ±10 %                                  50  Hz ±5 %
Leistung  Verbrauch:                      20W
Schutzklasse  :                        IP45  
Betriebsumgebung  :      0 bis 55 °C,  relative  Luftfeuchtigkeit  95 bis 100 %,  normale
 
Struktur .
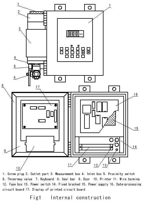
Innen  detaillierte  Struktur  der 15 ppm Öl-in-Wasser-Überwachung
15 ppm Bilgenalarm

Vorherige: 
Nächste: 
Produktanfrage

Navigation

Produktliste

Navigation

Kontaktieren Sie uns

Tel.: 0086-023-62984891
Fax: 0086-023-62613622
WhatsApp/Mob: 0086 15922636221
E-Mail: master@hy-industry.com

 
Copyright © 2020 Gathering Marine Equipment Co., Ltd. Unterstützt von Leadong